歡迎訪問沼河浸過濾器官網
技術參數
- 單臺處理水量:45-410m³/h
- 最大工作壓力:0.1-1.6Mpa
- 過濾器清潔時的壓力損失:≤0.018Mpa
- 最高工作水溫:95℃
- 過濾精度范圍:100-3000μm
- 自清洗所需水量:<1%
- 自清洗時間:10-60秒
- 自清洗控制方式:手動
- 電控方式:交流三相380V/ 50Hz
- 控制界面:數顯、旋鈕、開關
- 濾網類型:316L編織網、楔形網
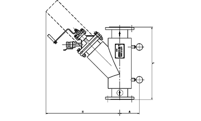
尺寸對照表
| 型號 | 公稱通徑 | L | A | H | 排污口 | 重量(kg) | ||||
|---|---|---|---|---|---|---|---|---|---|---|
| mm | 時 | mm | mm | mm | 公稱通徑 | 接口型式 | 0.6 | 1.0 | 1.6 | |
| ELC-Y02 | 50 | 2 | 350 | 122 | 400 | DN32 | 管螺紋 | 12 | 16 | 16 |
| ELC-Y03 | 80 | 3 | 440 | 145 | 450 | DN32 | 21 | 26 | 26 | |
| ELC-Y04 | 100 | 4 | 654 | 165 | 500 | DN32 | 26 | 33 | 33 | |
| ELC-Y05 | 125 | 5 | 758 | 182 | 600 | DN50 | 34 | 38 | 38 | |
| ELC-Y06 | 150 | 6 | 882 | 202 | 700 | DN50 | 53 | 62 | 62 | |
| ELC-Y08 | 200 | 8 | 1068 | 230 | 820 | DN50 | 72 | 81 | 83 | |
| ELC-Y10 | 250 | 10 | 1338 | 268 | 1020 | DN50 | 113 | 125 | 135 | |
安裝圖




手機二維碼